[最新] 71175-tba-a50 162725-71175tbaa50
Due to COVID19, please note that orders may be delayed up to 35 business daysTGGA50ZD GARNISH ASSY, L FR BUMPER SIDE *NH0M* (LUNAR SILVER METALLIC) $9017 $6312 Add to Cart $9017 $6312 Add to Cart Garnish Assembly, L Front Bumper Side *NH731P* (Crystal Black Pearl)Front Bumper (2) for Honda Civic Honda Parts Flagstaff Cart
Tba A00 Genuine Honda Up Beam Comp Fr B
71175tbaa50
71175tbaa50-For fastest response, contact us at parts@hondafactorypartscom We are here 75 weekdays please allow 1 business day for us to respond Search Bar 2 Search No Vehicle SelectedHonda BOX, L FR BUMPER (PP) is a genuine Honda part that is available at Bernardi Parts



Genuine Honda Civic Front Bumper Spacer Bracket Left Right Set Oe 9 99 Picclick
Your vehicle deserves only genuine OEM Honda parts and accessories To ensure reliability, purchase Honda part # TBAA50 BOX, L FR BUMPER (PP) Our Honda parts and accessories are expedited directly from authorized Honda dealers strategically located all across the US and are backed by the manufacturer's 12 month, 12,000 mile warranty OEM HondaSign up for our monthly newsletter to receive promotional coupons and stay up to date on sales!Hours MondayFriday 800am600pm Saturday 800am400pm Sunday Closed
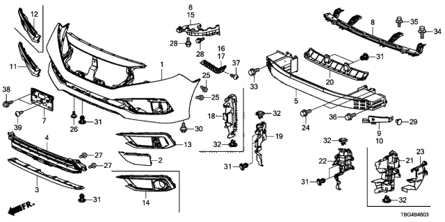
Garnish Assembly, L Front Bumper Side *NH797M* (Modern Steel Metallic) TGGA50ZL GARNISH ASSY, L FR BUMPER SIDE *NH797M* (MODERN STEEL METALLIC) $65 $5171Welcome to Honda Parts Connection!Ref # 002 cap, radar Part Number TBAA50 Mfg Origin ' CAN ' ' USA ' ' CAN ' ' USA ' Emission Types KA US 49 State Spec KL California Spec Retail price $2438 WARNING California Prop 65 Information
19 Honda part # TBAA50 Box, L Front Bumper (Pp) Questions?Sign up for our monthly newsletter to receive promotional coupons and stay up to date on sales!Your vehicle deserves only genuine OEM Honda parts and accessories To ensure reliability, purchase Honda part # TBAA00 Up Beam Comp,FR B Our Honda parts and accessories are expedited directly from authorized Honda dealers strategically located all across the US and are backed by the manufacturer's 12 month, 12,000 mile warranty OEM Honda parts are the best for



1



19 Honda Civic Box L Front Bumper Pp Tba A50 Schomp Honda Parts
Donor vehicle 19 HONDA CIVIC SPORT SEDAN L GAS FWD AUTOMATIC TRANSMISSION Condition Like new10% Off Shipping for $0 Orders GET10 Cart Cart is EmptyPlease have patience as Honda is behind and some orders may be delayed This website is our catalog for parts reference It does not reflect our inventory



Honda Civic Front Bumper Brace Bracket Left Tba A50 18 19 Genuine Oem Ebay



18 Honda Civic Front Bumper Brace Bracket Right Tba A50 Oem 4 6 Ebay
Please EMAIL us to confirm fitment if you are not sure of your selection We are here to HELP!Genuine Honda OEM factory Part #TBAA50 Box, L Front Bumper (Pp) 19 Honda Civic Boch Honda West is your choice for Discount Honda OEM factory parts and accessories We are a factory Honda dealer with Honda parts and Honda accessories at discounted wholesale prices for your Accord, Civic, Pilot, Ridgeline, Odyssey, CRV and moreUP FOR SALE WILL BE A = HONDA CIVIC FRONT BUMPER BRACE BRACKET LEFT TBAA50 = 18 19 GENUINE OEM = ITEM WILL FIT OTHER CARS



Front Bumper For Honda Cars Civic Diesel 1 6 Mid 5 Doors 9 Speed Automatic 18 Honda Cars Genuine Spare Parts Catalogue



2
MSRP $ $ Add to Cart Garnish Assembly, L Front Bumper Side *NH797M* (Modern Steel Metallic) TGGA50ZL GARNISH ASSY, L FR BUMPER SIDE *NH797M* (MODERN STEEL METALLIC) MSRP $7033 $5275Ref # 002 cap, radar Part Number TBAA50 Mfg Origin ' CAN ' Emission Types KA US 49 State Spec KL California Spec Retail price $2487 WARNING California Prop 65 InformationSCREW, TAPPING (5X) (PO) Genuine Honda Chromed Tapping screw for your front license Plate mount



Front Bumper 4 For 19 Honda Civic Oem Parts



Honda
TBAA50 BOX, L FR BUMPER (PP) MSRP $470 $358 Add to Cart MSRP $470 $358 Add to Cart Garnish Assembly, L Front Bumper Side *NH0M* (Lunar Silver Metallic) TGGA50ZD GARNISH ASSY, L FR BUMPER SIDE *NH0M* (LUNAR SILVER METALLIC) MSRP $9197 $6401 Add to CartMSRP $1772 $1148 Add to Cart Garnish Assembly, L Front Bumper Side *R513* (Rallye Red) TGGA50ZA GARNISH ASSY, L FR BUMPER SIDE *R513* (RALLYE RED) MSRP $9197Sign up for our monthly newsletter to receive promotional coupons and stay up to date on sales!



Tba A00 Genuine Honda Spacer L Fr Bumper S



19 Honda Civic Box L Front Bumper Pp Tba A50 Honda Parts Online



Tba A50 Box L Front Bumper Pp 19 Honda Civic Honda Factory Parts



Honda Civic Bumper Price Jun 21 Found 635 For Sale



19 Honda Civic Box L Front Bumper Pp Tba A50 Casey Honda Parts



2



Front Bumper 4 For 19 Honda Civic Honda Parts Center



Tba A50 Box L Front Bumper Pp 19 Honda Civic From Braman Honda Parts Palm Beach Up To 30 Off Oem Honda Parts Catalog Braman Honda Parts



Front Bumper For Honda Civic Hondapartswd



712 Tgg A10 Genuine Honda Plate Fr Bumper Middle Induction



Language English 简体中文 Espanol Currency Cny Eur Gbp Usd Login Register 0086 0 E Mail Ysinfo Gzyishan Com Wish List 0 Shopping Cart Customer Login E Mail Address Password Register Search Low Price Rapid And



717 Tba A50 Genuine Honda Extension L Side Induction Plate



Genuine Honda Civic Front Bumper Spacer Bracket Left Right Set Oe 9 99 Picclick



19 Honda Civic Box L Front Bumper Pp Tba A50 Cheaper Honda Parts



Front Bumper For Honda Cars Civic Diesel 1 6 Mid 5 Doors 9 Speed Automatic 18 Honda Cars Genuine Spare Parts Catalogue



19 Honda Civic Box L Front Bumper Pp Tba A50 Honda Zone Parts



Www Washington Edu Students Timeschd Archive Ts Spring01 Pdf



Tba A50 Genuine Honda Box L Fr Bumper Pp



Fits 19 Honda Civic Front Lower Valance Panel tbaa50 Oe Ebay



tbaa50 Cap Radar Honda



18 Honda Civic Front Bumper Brace Bracket Right Tba A50 Oem 4 6 Ebay



Http Www Motovario Com Download File Php U Dxbsb2fkl2rvd25sb2fkl2zpbguvzmlszxmvmtywoti3mta0mtdfdgvjag5py2fsx2nhdgfsb2d1zv9ix2lly19hdgv4x2vux3jldjaucgrm F Technical Catalogue B Iec Atex En Rev0 Pdf E 1



1



Genuine Honda Civic Front Bumper Left Side Spacer Tba A00 16 Ebay



716 Tba A50 Genuine Honda Plate L Fr Bumper Side Induction



Front Bumper 2 For Honda Civic Acura Honda Parts Hub



Llay Shooting News Australian Warren S An Al Lower Macquarie Championshi S March Pdf Free Download



Front Bumper For Honda Civic Germain Honda



Front Bumper For Honda Civic Oemacurapart



Honda Civic Bumper Price Jun 21 Found 635 For Sale



Front Bumper 2 For Honda Civic Honda Parts Cheap



Language English 简体中文 Espanol Currency Cny Eur Gbp Usd Login Register 0086 0 E Mail Ysinfo Gzyishan Com Wish List 0 Shopping Cart Customer Login E Mail Address Password Register Search Low Price Rapid And



Tba A50 Genuine Honda Garnish Fr Bumper Lower



Honda Civic Front Bumper Brace Bracket Left Tba A50 18 19 Genuine Oem Ebay



Front Bumper For Honda Civic Honda Parts Online



Front Bumper 2 For Honda Civic Genuine Honda Parts



Front Bumper For Honda Civic Germain Honda



Front Bumper 2 For Honda Civic Honda Parts Sale



Tba A00 Genuine Honda Up Beam Comp Fr B



19 Honda Civic Box L Front Bumper Pp Tba A50 Oemacurapart



Front Bumper For Honda Civic Honda Parts Online



tbaa50 Cap Radar Honda



1



Tba A50 Box L Front Bumper Pp 19 Honda Civic Honda Car Parts Direct



Honda Civic Front Bumper Brace Bracket Left Tba A50 18 19 Genuine Oem Ebay



Front Bumper 4 For 19 Honda Civic Oem Parts



Pgatourmedia Pgatourhq Com Static Assets Page Header Files 1984 Champions Pdf



19 Honda Civic Box L Front Bumper Pp Tba A50 Oem Honda Parts Accessories



19 Honda Civic Box L Front Bumper Pp Tba A50 Honda Parts Direct



Civic Sedan Tour Turbo Cvt Front Bumper 2 Bernardi Parts Honda



Front Bumper 2 For Honda Civic Oem Honda Parts Online



19 Honda Civic Box L Front Bumper Pp Tba A50 Yonkers Honda



Front Bumper 4 For 19 Honda Civic Oem Parts



Front Bumper 2 For Honda Civic Save On Honda Parts



Front Bumper 2 For Honda Civic Acura Parts Pr



Front Bumper 2 For Honda Civic Checkered Flag Honda



2



Front Bumper 4 For 19 Honda Civic Oem Parts



Front Bumper 2 For Honda Civic Afh Parts



Front Bumper 2 For Honda Civic Hendrick Honda Parts



Language English 简体中文 Espanol Currency Cny Eur Gbp Usd Login Register 0086 0 E Mail Ysinfo Gzyishan Com Wish List 0 Shopping Cart Customer Login E Mail Address Password Register Search Low Price Rapid And



Front Bumper 1 For Honda Civic Honda Superstore Parts



Front Bumper 4 For 19 Honda Civic Honda Acura Parts Direct



Front Bumper 4 For 19 Honda Civic Xportauto



tbaa50 Cap Radar Honda



Q Tbn And9gcsvwsap7vkgwqwelcig6ra2beqm1i1phgl3lnhzfzi2y0jumamn Usqp Cau



Pgatourmedia Pgatourhq Com Static Assets Page Header Files 1984 Champions Pdf



Honda Civic Bumper Price Jun 21 Found 635 For Sale



Honda Civic Bumper Price Jun 21 Found 635 For Sale



Honda Civic Front Bumper Brace Bracket Left Tba A50 18 19 Genuine Oem Ebay



Front Bumper For Honda Civic Honda Parts Online



Tba A50 Box L Front Bumper Pp 19 Honda Civic Honda Car Parts Direct



19 Honda Civic Box L Front Bumper Pp Tba A50 Serra Parts Usa



Honda Civic Bumper Price Jun 21 Found 635 For Sale



Tba A50 Box L Front Bumper Pp 19 Honda Civic All Discount Parts Store



Front Bumper 2 For Honda Civic Honda Parts Florida



Tba A50 Genuine Honda Garnish Fr Bumper Lower



Pgatourmedia Pgatourhq Com Static Assets Page Header Files 1984 Champions Pdf



tbaa50 Cap Radar Honda



19 Honda Civic Box L Front Bumper Pp Tba A50 Midwest Oem Parts



2



Diagram Wiring Diagram Tm8 A00 Full Version Hd Quality Tm8 A00 Adlinkmedia Fr



Genuine Honda Civic Front Bumper Spacer Bracket Left Right Set Oe 9 99 Picclick



Http Www Motovario Com Download File Php U Dxbsb2fkl2rvd25sb2fkl2zpbguvzmlszxmvmtywoti3mta0mtdfdgvjag5py2fsx2nhdgfsb2d1zv9ix2lly19hdgv4x2vux3jldjaucgrm F Technical Catalogue B Iec Atex En Rev0 Pdf E 1



Genuine Honda Civic Front Bumper Spacer Bracket Left Right Set Oe 9 99 Picclick



Pgatourmedia Pgatourhq Com Static Assets Page Header Files 1984 Champions Pdf



Tba A50 Garnish Assembly R Front Bumper Side 19 Honda Civic Genuine Honda Parts



Llay Shooting News Australian Warren S An Al Lower Macquarie Championshi S March Pdf Free Download



Honda Civic Bumper Price Jun 21 Found 635 For Sale



Front Bumper 4 For 19 Honda Civic Hondapartshq



Language English 简体中文 Espanol Currency Cny Eur Gbp Usd Login Register 0086 0 E Mail Ysinfo Gzyishan Com Wish List 0 Shopping Cart Customer Login E Mail Address Password Register Search Low Price Rapid And



The Times Picayune From New Orleans Louisiana On April 22 19 Page 10



Front Bumper 19 Honda Civic 2 Door Lx Hdm Cvt Kl Cvt



Front Bumper 1 For Honda Civic Honda Parts Store



Front Bumper 2 For Honda Civic Wholesale Honda Parts



Genuine Honda Civic Front Bumper Spacer Bracket Left Right Set Oe 9 99 Picclick

コメント
コメントを投稿